Naprej Skozi grede > Ustvarjanje znanosti

39

Elektroni in ioni

Piezo- in termoelektrika – Termični elektroni – Curki elektronov – Odklon curka v poljih – Relativistični odklon – Masni spektrometer ionov – Naboji na kapljicah – Elektroni v snovi – Dielektričnost – Permeabilnost – Prevodniki – Svetloba in elektroni

39.1 Piezo- in termoelektrika

Če privzamemo, da so nosilci električnega naboja res elektroni in ioni, v kar ne dvomimo preveč, dobimo s tem novo, upajmo da plodovito izhodišče za usmerjanje nadaljnjih raziskav. Razmišljamo takole.

Piezoelektrični pojav

Kristal izolatorja, recimo kvarca, je rešetka iz ionov, ki so med seboj povezani z elektronskimi pari kot vezmi. S to rešetko je določena tudi porazdelitev električnih dipolov po kristalu. Porazdelitev je taka, da se sosedni dipolni momenti med seboj izničujejo. Kaj pa, če bi kristal deformirali, recimo stisnili? Rešetka bi se potem spremenila in morda bi se električni dipoli več ne izničevali. Na nasprotnih ploskvah kristala bi se zato pojavili vezani pozitivni in negativni naboji in med njimi bi zavladala napetost.

Naredimo poskus! Kristal kvarca vtaknemo med dve kovinski ploščici, povezani z balističnim voltmetrom. Ko ploščici stisnemo, se voltmeter res za hip odkloni. Očitno je zaznal napetostni sunek, to je izenačevanje nabojev med obema ploščicama. Izmerimo, da sta pretočeni naboj in s tem napetost kar sorazmerna s pritiskom: Up. Sorazmernostni koeficient je odvisen od vrste, oblike in razsežnosti kristala. Tipično znaša 10 V na kp/cm2, kar je presenetljivo veliko. Odkrili smo piezolektrični pojav pri nekaterih kristalih (Curie, P.).

Termoelektrični pojav

V kovini elektroni niso vezani na ionsko rešetko, marveč se lahko prosto gibljejo skoznjo. Če staknemo dve kovini, se morda nekaj elektronov preseli iz kovine, kjer so šibkeje vezani, v kovino, kjer so vezani močneje. Z ene strani meje na drugo se preseli toliko elektronov, da ustvarijo dovolj veliko potencialno zaporno plast in preseljevanje se ustavi. Če naredimo krožno zanko iz dveh žic, sta na obeh stičiščih enako veliki in nasprotno usmerjeni potencialni plasti. Gonilna napetost po zanki je zato enaka nič. Če pa stičišči podvržemo različnima temperaturama (enega potopimo v vrelo in drugega v ledeno vodo, na primer), se morda potencialni plasti razlikujeta, pojavi se gonilna napetost in po zanki steče tok. To je termočlen.

Naredimo poskus! Meritve z voltmetrom res pokažejo, da obstaja gonilna napetost med stičiščema; je kar sorazmerna s temperaturno razliko: U ∝ ΔT. Sorazmernostni koeficient je odvisen od vrste snovi in znaša tipično 10 μV/K. Odkrili smo termoelektrični pojav (Seebeck).

Termoelektrični pojav lahko izkoristimo kot generator napetosti iz temperaturnih razlik v okolju. Da dobimo dovolj visoke napetosti, moramo le zaporedno povezati več kovinskih parov. Ali pa merimo temperaturne razlike v okolju preko merjenja napetosti.

39.2 Termični elektroni

Ali lahko prevodniške elektrone spravimo ven iz kovine, morda s segrevanjem? Kakor iz tekoče vode pri segrevanju izhlapevajo molekule, tako morda iz kovin izhlapevajo tudi elektroni!

Dioda

Ravnamo takole. V zaprto stekleno cev na vsakem koncu vtalimo kovinsko elektrodo in izsesamo zrak na okrog 10−3 mm Hg. Tedaj imajo molekule zraka povprečno prosto pot (36.29) (ki je obratnosorazmerna z številsko gostoto) okrog 10 cm. S tem hočemo omogočiti elektronom nemoteno izhlapevanje in gibanje v prostoru. Eno elektrodo segrevamo z električnim grelcem do žarenja. Elektrodi priključimo na izvor enosmerne napetosti – baterijo nekaj 10 V: vročo elektrodo na negativni priključek (katoda) in hladno na pozitivnega (anoda). Priključeni ampermeter pokaže, da skozi cev teče tok. Očitno iz vroče elektrode res izstopajo elektroni, ki jih nato električno polje med elektrodama poganja proti hladni elektrodi. Ko priključka zamenjamo, pa tok ne teče. Iz hladne elektrode namreč elektroni ne morejo izstopati. Opisani cevi rečemo dioda (Edison).

[Dioda] Slika 39.1 Prva dioda – navadna žarnica na ogleno nitko, ki ima vtaljeno dodatno kovinsko elektrodo. Sestavil jo je T. Edison. Ko med elektrodo in žarilno nitko priključimo baterijo (elektrodo na pozitivni pol), steče skozi diodo tok. (National Museum of American History)

Diodni tok

Kolikšen tok teče skozi diodo, je odvisno od oblike, lege in velikosti elektrod, od temperature katode ter še česa. V vsakem primeru pa je tok odvisen od napetosti: najprej hitro narašča, potem pa se ustali. Tedaj anoda sproti poskrka vse izhlapele elektrone iz katode. Tipični nasičeni tokovi znašajo 10–100 mA in tipične napetosti pri nasičenju 10–100 V.

Katodna cev

Da bomo tok elektronov skozi prostor lažje preučevali, diodo ustrezno preoblikujemo. Razpotegnemo jo v hruškasto cev. Katodo in anodo namestimo v njen vrat ter v anodo izvrtamo luknjico. Tako upamo, da bodo nekateri elektroni zleteli skoznjo in nadaljevali svojo pot v razširjeni prostor kot katodni žarki. Obe elektrodi priključimo na baterijo do 1000 V ali na indukcijsko tuljavo, ki je vir utripajoče enosmerne napetosti do 10 kV. Izdelali smo katodno cev (Thomson).

[Katodna cev]

Slika 39.2 Katodna cev. Prikazana je katodna cev, ki jo je uporabljal J. Thomson za meritve elektronov. V sredini sta vtaljeni elektrodi kondenzatorja. (University of Cambridge).

Za uspešno delovanje katodne cevi je potrebno, kakor zmeraj, urediti kup podrobnosti. — Najprej moramo curek sploh videti. V cev zato dodamo majhno količino tega ali onega plina in poskušamo, ali njegove molekule, ko jih elektroni zadenejo, kaj sevajo. S poskušanjem ugotovimo, da sta primerna anodna napetost 100–300 V in helij oziroma vodik pri tlaku okrog 10−2 mm Hg. Curek elektronov, ki teče skozi helij, zariše lepo modro črto. — Pri višjih anodnih napetostih opazimo na steklu, kamor vpada curek, svetlo piko. Heliju kot označevalcu žarka se zato lahko odrečemo. Poskušamo pa najti premaz, ki bi svetil čim močneje. Za primerno kombinacijo se pokažeta anodna napetost okrog 1 kV in premaz iz cinkovega sulfida. — Hkrati poskušamo tudi povečati izhlapevanje elektronov iz katode in iščemo premaz s čim nižjim izstopnim delom. Za primernega se pokaže barijev oksid. — Končno še izboljšamo kolimacijo snopa z dodatkom ene ali več zaslonk.

S katodno cevjo smo dobili v roke prvovrstno orodje za ustvarjanje in raziskavo elektronskih curkov v vakuumu.

39.3 Curki elektronov

Ko elektron preleti potencialno razliko UA med katodo in anodo, je na njem opravljeno delo eUA in to je enako pridobljeni kinetični energiji mv2/2, če je hitrost majhna v primerjavi s svetlobno. Elektron v curku ima zato hitrost

(39.1)

v = √

2eUA

m

.

Kakšna je ta hitrost, vnaprej ne moremo vedeti, ker še ne poznamo mase elektronov. Njihov naboj pa že poznamo (36.10); izračunali smo ga iz elektrolizne in kilomolske konstante.

Elektronvolt

Za elektron, ki preteče napetost 1 V, bomo rekli, da ima energijo 1 elektronvolt oziroma 1 eV. Ker že poznamo osnovni naboj, velja 1 eV = e · 1 V = 1,6 · 10−19 J.

Merjenje energije elektronov v joulih je očitno nerodno, zato jo bomo raje merili v elektronvoltih. To velja tudi za energije atomov in molekul. Povprečna termična translacijska energija atoma ali molekule, na primer, znaša K = (3/2)kT. Takšno energijo bi imel elektron, ki bi pretekel tolikšno napetost U, da e U = (3/2) kT. Pri 1000 kelvinih znaša U = 0,1 V, kar pomeni K = 0,1 eV. Očitno so kinetične energije delcev zaradi termičnega gibanja mnogo manjše kot energije, ki jih imajo elektroni v katodnih ceveh.

Hitrostna homogenost

Ali se elektroni v izhodnem curku kaj razlikujejo po hitrosti? To bi se zgodilo, če bi se elektroni razlikovali po masi, po začetni energiji ob izstopu iz katode in po trkih ob anodo pri preletu skoznjo. Pričakujemo, da so mase vseh elektronov enake. Vpliv anodne luknje zanemarimo. Izhlapeli elektroni pa imajo le največ tolikšno začetno energijo, kot znaša termična energija delcev v katodi, torej okrog 0,1 eV. To pa je zanemarljivo v primerjavi z energijami preko aktualnih pospeševalnih napetosti nekaj sto ali tisoč voltov. Pričakujemo torej, da je elektronski curek hitrostno homogen.

Hitrostna nehomogenost

Kaj pa, če pospeševalna napetost ni konstantna, ampak se s časom hitro spreminja? To se dogaja pri indukcijskih tuljavah. V tem primeru so nekateri elektroni pospešeni z večjo in drugi z manjšo napetostjo. V curku zato najdemo elektrone z najrazličnejšimi hitrostmi. Taki curki so hitrostno nehomogeni.

39.4 Odklon curka v poljih

Elektronski curki nosijo naboj in ti naboji se gibljejo, torej predstavljajo električni tok. Zato nanje gotovo delujeta električna sila Fe = eE (37.1) in magnetna sila Fm = Il × B (37.30), ki se za posamičen elektron zapišeta kot

(39.2)

F = e(E + v × B) .

Električni odklon

Raziščimo vpliv teh sil! V vodoravno katodno cev namestimo kondenzator iz dveh podolgovatih ploščic dolžine l na medsebojni razdalji d. Skozi ta kondenzator naj teče elektronski curek; z njim je definirana os x. Napetost U med lističema ustvari v kondenzatorju homogeno polje E = U/d, ki je usmerjeno (postavimo) navpično navzdol.

[Električni odklon] Slika 39.3 Električni odklon. Curek elektronov se odkloni v električnem polju kondenzatorja.

V kondenzatorju preživi elektron t = l/v časa. Medtem mu električna sila podeljuje pospešek a = Fe/m = eE/m in mu podeli hitrostno komponento navzgor vz = at = eEl/mv. Po prehodu kondenzatorja je zato elektron odklonjen od prvotne smeri za kot vz/v = tan θ, pri majhnih odklonih torej za

(39.3)

θ =

eEl

mv2

.

Vidimo, da θ ∝ 1/mv2. Vsi elektroni z enako kinetično energijo se enako odklonijo. Rečemo, da je električno polje selektor curka po kinetični energiji. Kvalitativen poskus pokaže, da se elektronski curek res odkloni. Če je curek hitrostno nehomogen (na primer pridobljen z indukcijsko tuljavo), se pri tem raztegne v navpično pahljačo. Hitrejši elektroni pač preživijo v kondenzatorju manj časa in se manj odklonijo, počasnejši pa bolj.

Magnetni odklon

Postavimo na vsako stran katodne cevi enako obročasto tuljavo. Razmaknjeni naj bosta za polovico svojega premera: polje med takima tuljavama je namreč dobro homogeno. Odvisno je od toka, ki teče skoznju, in ga lahko izmerimo na primeren način. Polje naj bo pravokotno na cev in usmerjeno (postavimo) v desni bok gibajočih se elektronov.

[Magnetni odklon] Slika 39.4 Magnetni odklon. Curek elektronov se odkloni v magnetnem polju tuljave.

Curek čuti silo evB pravokotno na svojo smer, kar ga zvija navzdol v krožni lok z radijem r. Magnetna sila je centrifugalna, zato evB = mv2/r, torej 1/r = eB/mv. Po prehodu magnetnega polja po loku s so elektroni odklonjeni za kot ϕ = s/r, to je

(39.4)

ϕ =

eBs

mv

.

Vidimo, da ϕ ∝ 1/mv. Vsi elektroni z enako gibalno količino se enako odklonijo. Rečemo, da je magnetno polje selektor curka elektronov po gibalni količini. Kvalitativni poskus pokaže, da se elektronski curek res odkloni. Če je curek hitrostno nehomogen, se pri tem raztegne v navpično pahljačo. Hitrejši elektroni se manj odklonijo.

Hitrost elektronov

Kaj pa, če hkrati uporabimo navpično električno polje, ki odklanja curek navzdol, in vodoravno magnetno polje, ki odklanja curek navzgor? Premer tuljave v tem primeru naj bo enak dolžini kondenzatorja. Elektron, ki prileti s hitrostjo v v prekrižani polji, čuti neto silo obeh polj in se ustrezno odkloni, navzgor ali navzdol. S prilagajanjem jakosti enega ali drugega polja (preko drsnih upornikov) lahko dosežemo, da se elektron ne odkloni nikamor, ampak potuje naprej v ravni črti. Tedaj velja eE = evB, torej

(39.5)

v =

E

B

.

Za elektrone, ki so preleteli napetost 300 voltov, tako izmerimo strahotne hitrosti okrog 10 · 103 km/s. V eni sekundi prepotuje tak elektron celotni premer Zemlje! Seveda pa je to še vedno zgolj 3 % svetlobne hitrosti. Če na prekrižani polji vpadajo elektroni različnih hitrosti, se prepustijo v vodoravni smeri zgolj tisti s hitrostjo E/B, drugi pa zavijejo vstran. Polji zato delujeta kot hitrostni selektor elektronov.

Masa elektrona

Z izmerjeno hitrostjo v pri znani napetosti UA je enolično določeno razmerje e/m = v2/2UA. Natančne meritve povejo e/m = 1,7 · 1011 C/kg. Ker poznamo e = e0, je s tem ugotovljena tudi masa elektronov:

(39.6)

me = 9,1 · 10−31 kg .

Elektron je torej 1800-krat lažji od atomske masne enote, ali kar je praktično isto, od vodikovega atoma.

Kaj pa, če ne poznamo napetosti UA? Tedaj uporabimo enačbi (39.3) in (39.4), ki opisujeta odklone in ne vsebujeta napetosti UA. To je dvojica enačb z dvema spremenljivkama v in e/m. Njuna rešitev pove v = ϕE/θB in e/m = Eϕ2/B2θl. Za primer θ = ϕ in l = s velja v = E/B in e/m = Eθ/B2l. To pa je že iskana enačba. Govori nam, kako meriti: nastavite primeren E in izmerite odklon θ. Vključite tuljavo in nastavite B tako, da se žarek vrne v izhodišče. Nato iz izmerkov izračunajte v in e/m.

39.5 Relativistični odklon

Sedaj, ko poznamo maso elektronov, lahko tudi izračunamo, s kakšno napetostjo jih moramo pospešiti, da se gibljejo relativistično. Velja eU = (γ(v) − 1)mc2, iz česar sledi za v/c = 0,9 vrednost U = 6,5 · 106 V, torej nekaj milijonov voltov. Tako visokih napetosti z obstoječimi usmerniki ne zmoremo ustvariti. Kljub temu pa izračunajmo, kako bi se takšni relativistični elektroni odklanjali v električnem in magnetnem polju.

Električni odklon

Opazovalni sistem S privežemo na kondenzator in opazovalni sistem S' na vpadajoči elektron. Za opazovalca v S torej kondenzator miruje in elektron se giblje v desno s hitrostjo v. Za opazovalca v S' pa elektron miruje in kondenzator se giblje v levo s hitrostjo v. Čas v S, ki ga potrebuje elektron za prelet kondenzatorja, je t = l/v. Opazovalec S' vidi kondenzatorjevo polje E' = γE. Opazovalec S' vidi skrajšan kondenzator l' = l/γ. V S' zato potrebuje elektron preletni čas t' = l'/v. Vmes deluje nanj sila F' = eE'. Ta sila mu da pospešek (neralitivistični, ker so hitrosti vz majhne) a' = F'/m. V času t' zato pridobi hitrost vz' = a't'. Ta hitrost v S znaša vz = vz'/γ. V dobljeno enačbo za vz vstavimo, po vrsti, vse predhodne enačbe, delimo z v in dobimo

(39.7)

θ =

eEl

γmv2

.

To je prav takšna enačba kot za počasne elektrone, če za njihovo maso vzamemo vrednost γm. Hitri elektroni se torej po teoriji relativnosti odklonijo manj, kot bi se po klasični teoriji.

Magnetni odklon

Gibalna enačba za elektron v magnetnem polju je d(γmv)/dt = ev × B. Ker je E = 0, je |v| = const. Zato je tudi γ = const in lahko zapišemo γm dv/dt = ev × B. To pomeni, da se hitri elektron odklanja ravno tako kot počasni, če le za njegovo maso vzamemo vrednost γm. Torej velja

(39.8)

ϕ =

eBs

γmv

.

Odklonska pot elektrona ima obliko krožnega loka z radijem r. Ker ϕ = s/r, znaša ta radij r = γmv/eB. Če je magnetno polje razsežno, lahko elektron v njem zariše cel krog.

Prekrižani polji

Enačbi za električni in magnetni odklon vsebujeta dve spremenljivki: v in e/m. Za primer θ = ϕ in l = s sledi iz izenačitve desnih strani enačb v = E/B. Vstavitev te hitrosti v prvo enačbo pa da e/γm = Eθ/B2l. Hitrim elektronom torej izmerimo hitrost in razmerje e/m podobno kot počasnim. Po relativistični teoriji določeno razmerje je večje kot po klasični.

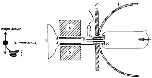
39.6 Masni spektrometer ionov

Kanalski žarki

Električno in magnetno polje odklanajata seveda tudi ione, pozitivne in negativne. S tem se ponuja način, kako meriti njihove mase. V prostor med katodo in anodo zapremo nekaj plina. Namesto da preluknjamo hladno anodo, preluknjajmo vročo katodo. Elektroni na svoji poti od katode na anodo ionizirajo plin in nastali pozitivni ioni potujejo proti katodi ter skozi njeno luknjico. Tako dobimo curek pozitivnih ionov oziroma kanalske žarke. Za razliko od curka elektronov pa niso niti masno niti hitrostno homogeni: saj lahko nastane ionizacija kjerkoli, pospeševalne razdalje se zato razlikujejo in s tem tudi pridobljene hitrosti.

Parabolični spektrometer

Ionski žarek je po odklonu v kondenzatorju navpično raztegnjen: v izbranem odklonu se znajdejo enako hitri, a masno različni ioni. Kako naj jih ločimo? S takim odklonom v vodoravni smeri, ki različno odklanja lahke kot težke delce. Takšno pa je magnetno polje, ki je vzporedno z električnim.

[Parabolični masni spektrometer]

Slika 39.5 Masni spektrometer ionov. K = katoda, F = kanal, AA = kondenzator, NS = magnet, S = zaslon, P = ščitnik. V posodi na desni je plin. Priključena indukcijska tuljava ga ionizira. Pozitivni ioni tečejo skozi kanal. Kondenzator jih odklanja navzdol in magnet vstran. Na zaslonu se rišejo deli parabol. (Thomson, J., 1897)

Izbrani ion se torej odklanja v navpični smeri za θzeE/mv2 in v vodoravni za φyeB/mv. Sorazmernostna koeficienta vsebujeta geometrične konstante. Z izločitvijo hitrosti iz obeh enačb dobimo

(39.9)

y2

z

e

m

B2

E

.

Ioni z istim e/m in različnimi hitrostmi torej zarišejo na zaslonu navpično parabolo, pravzaprav le njeno polovico. Različne točke na paraboli odgovarjajo istemu e/m in različni hitrosti. Če so prisotni različni ioni, vsak s svojim e/m, se zariše več parabol. Predpostavljamo, da nosijo ioni po en osnovni naboj. Če nosi ion dva naboja, se zariše kot ion z enim nabojem in polovično maso.

Masama m1 in m2 ustrezata pri višini z odmika y1 in y2. Njuno razmerje znaša m1/m2 = (y2/y1)2 in je neodvisno od velikosti in oblike priprave ter polj. Če poznamo maso ene parabole, z meritvijo odmikov y pri istem z določimo tudi maso vseh ostalih parabol. To delamo na fotografskem posnetku zaslona. Na posnetku ni vidna navpična os, zato naredimo dve polovični osvetlitvi in vmes zamenjamo smer magnetnega polja. Tako pridelamo obe polovici parabol. Za umeritveno parabolo so primerni katerikoli ioni z znano maso, na primer kisikovi.

[Parabolični masni spekter] Slika 39.6 Masni spekter. Ioni z istim razmerjem e/m padajo na isto parabolo. Hitrejši ioni bliže vrhu, počasnejši bolj proč. Opazna sta dva izotopa neona. (Thomson, J., 1913)

Z opisanim masnim spektrometrom odkrijemo, da so elementi z necelim masnim številom pravzaprav mešanica elementov z različnimi celimi masnimi števili. Neon, na primer, ima masno število 20,2, spektrometer pa pokaže dve vrsti ionov: 20 in 22, prvih več in drugih manj. Rečemo, da so to izotopi neona. S tem oživimo domnevo, da so atomi pravzaprav sestavljeni iz celega števila enako težkih delcev.

Polkrožni spektrometer

Ločljivost paraboličnega spektrometra znaša Δm/m ≈ 1/10. Preučevanje izotopov pa zahteva večjo natančnost. Kot raziskovalci, ki nas zanima prav to področje, iščemo in izumimo mnoge izboljšave. Ena izmed njih je polkrožni spektrometer, ki dosega natančnost 1/103.

[Polkrožni spektrometer] Slika 39.7 Polkrožni spektrometer. Hitrostno homogeni curek ionov se v magnetnem polju razcepi v delne curke z različnim razmerjem e/m. Prikazana je shema spektrometra, ki ga je sestavil K. Bainbridge. (SchoolPhysics, UK)

Spektroskop je sestavljen iz ionske komore, selektorja hitrosti in masnega analizatorja. V ionski komori poseben elektronski curek bombardira atome in jih ionizira v pozitivne ione. Polje med anodo in preluknjano katodo pospeši nastale ione ven iz komore. Na izhodu imajo ioni različne hitrosti. Sledi prehod skozi prekrižani E in B polji, ki prepustita le ione z ostro določeno hitrostjo v = E/B. Teh izstopnih elektronov je seveda mnogo manj, kot je vstopnih. Ionski curek nato vpade v homogeno magnetno polje, ki ga razcepi in ukrivi v delne curke z različnimi radiji. Ioni z enakimi masami m se uvrstijo v curek z radijem r = mv/eB. Ko se curki odklonijo za 180°, zadenejo ob ravno fotografsko ploščo. Curek z radijem r zadene ploščo na oddaljenosti 2r od vstopne točke. Masa ionov je torej kar sorazmerna z oddaljenostjo.

Zakaj prestrežemo curke pri 180° in ne kje drugje? Poskus (in tudi risba in račun) pokaže, da se curek, ki je pri vhodu v magnetno polje zmeraj rahlo divergenten, po preletu za 180° spet lepo fokusira.

[Masni spekter] Slika 39.8 Masni spekter neona z izotopoma 20 in 22 ter klora z izotopoma 35 in 37, kakor ju je s svojim spektrometrom izmeril F. Aston. (University of Cambridge)

Večina spektrometrov deluje na pozitivne ione. Takšni so tudi ioni, ki bi drugače od njih pričakovali, da bodo negativni, recimo klorovi. Atomi v ionizacijski komori pri obstreljevanju z elektroni pač prej izgubijo kak elektron kot pa da kakšnega ujamejo. Če pa kakšen negativni ion le nastane, ne zmore poti do katode.

39.7 Naboji na kapljicah

Malo nas skrbi, če imajo elektroni in ioni res zmeraj enako velik naboj oziroma celoštevilski mnogokratnik tega naboja. Morda pa bi lahko drobne naboje neposredno merili in sicer na drobnih nosilcih?

Meritev nabojev

Med vodoravni plošči kondenzatorja, ki je priključen z drsnim delilcem napetosti na baterijo 1000 V, razpršimo oljne kapljice. Te se zaradi drgnjenja skozi šobo naelektrijo. Opazujemo jih z daljnogledom, pri čemer jih osvetljujemo z žarnico. Dokler na ploščah ni napetosti, padajo kapljice enakomerno. Njihova teža je enaka linearnemu zračnemu uporu: ρr3/3 = 6πηrv. Vzgon zanemarimo. Z merjenjem hitrosti med dvema vodoravnima črtama določimo radij izbrane kapljice in iz njega maso. Potem vključimo napetost. Nekatere kapljice se pospešijo navzdol, druge navzgor, kakor so pač naelektrene. Napetost prilagodimo tako, da izbrana kapljica miruje. Tedaj je njena teža enaka električni sili: mg = eU/l, iz česar izračunamo naboj. Premerimo mnogo kapljic in ugotovimo, da so njihovi naboji res majhni mnogokratniki osnovnega naboja, za katerega dobimo 1,6 · 10−19 As. Manjših nabojev ne opazimo. S tem smo potrdili dosedanjo domnevo.

[Merjenje naboja na kapljicah] Slika 39.9 Merjenje osnovnega naboja na kapljicah v električnem polju ploščatega kondenzatorja. Prikazana je priprava, ki jo je zgradil in uporabil A. Millikan. (University of Chicago)

Pri meritvah včasih opazimo, kako mirujoča kapljica nenadoma začne padati ali se dvigati. Očitno je zajela kakšen ion iz okolice. Opazimo pa tudi, da se vse mirujoče kapljice sčasoma, v kakšni minuti, začno dvigati. Očitno izhlapevajo in električna sila prevlada nad težo.

39.8 Elektroni v snovi

Snov je polna elektronov. V dielektrikih – trdnih, tekočih in plinastih – so elektroni vezani v atomih. V trdnih kovinah se prosto gibljejo skozi rešetko iz "mirujočih" pozitivnih ionov. In v prevodnih raztopinah potujejo, kakor kavboji na konjih, na gibljivih negativnih in pozitivnih ionih. Nekateri pa tudi samostojno, kakor kavboji brez konj.

Število elektronov

Koliko je pravzaprav elektronov v atomih raznih vrst? Tega zaenkrat ne vemo. Privlačna je misel, da je v najlažjem atomu vodika en elektron, v vseh naslednjih po teži pa ustrezno več.

Koliko pa je presežnih elektronov na nabitih telesih? Preučimo ploščati kondenzator, ki ima bakreni plošči z debelino d = 0,1 mm in ploščino po S = 1 dm2 na medsebojni razdalji l = 1 cm. Vsaka elektroda ima maso m = ρSl = 8,9 g. V kilomolski masi bakra M = 64 kg je NA atomov. Vsak atom prispeva, tako predpostavimo, 1 prevodni elektron. V kilomolski masi je zato NA prevodnih elektronov. Skupni naboj teh elektronov je NA e0 = 96 · 106 As. V eni elektrodi pa je m/M tega naboja, to je 13 400 As. Kondenzator ima kapaciteto C = ε0 S/l = 8,9 pF. Z napetostjo 30 kV (ki jo dobimo iz tornega stroja in izmerimo s statičnim voltmetrom) spravimo na eno elektrodo naboj e = CU = 2,7 · 10−7 As. Večja napetost povzroči preboj. Vendar pa je ta naboj 13 400 / 2,7 · 10−7 = 50 · 109-krat manjši kot skupni naboj vseh prevodnih elektronov. To pomeni: na vsakih 50 milijard prostih elektronov pride en elektron viška. Kar se kaže kot velika naelektrenost teles, je pravzaprav hudo neznaten višek ali primanjkljaj elektronov na njih.

Hitrost elektronov v kovinah

Električni tok po žicah, to je gibanje elektronov vzdolž njih. Kako hitro se gibljejo elektroni? To pove gostota toka: j = nev, pri čemer n = N/V = NAρ/M. Maksimalni tok, ki lahko teče po bakreni žici, ne da bi se ta preveč grela, znaša j = 10 A/mm2. To pomeni, da se tedaj gibljejo elektroni s "strašno" hitrostjo 0,7 mm/s! To se na prvi pogled zdi malo, vendar tak elektron v eni sekundi preleti mimo milijona ionov. Seveda je to gibanje naloženo na obstoječe termično gibanje, ki je neprimerno hitrejše.

Kako si ob tej majhni hitrosti razlagamo dejstvo, da se električna luč v stanovanju prižge takoj, ko pritisnemo na stikalo? Elektroni vzdolž žice se res premikajo počasi, njihov vpliv na naslednika v vrsti pa je bliskovit. Stvar je podobna, kot če z batom potisnemo vodo v cevi. Delci vode se premaknejo malo, njihov udarni val pa napreduje s hitrostjo zvoka.

Hitrost ionov v raztopinah

V vodni raztopini kislin, baz ali soli so nosilci električnega toka pozitivni in negativni ioni. Vsaka vrsta ionov se pri tem giblje s svojo hitrostjo in prispeva svoj delež k skupnemu toku: j = n+e+v+ + nev. Pozitivni ioni se gibljejo v smeri polja, negativni pa v nasprotni smeri, vendar imajo nasproten predznak, zato imata prispevka obojih enak znak. Obravnavajmo vodno raztopine morske soli NaCl. Ima naj koncentracijo 1 M/m3, to je 58 kg/m3. Če so vse molekule disociirane, je v raztopini natanko NA ionov Na+ in prav toliko ionov Cl. Ker nosita obe vrsti ionov enak naboj in sta približno enako težki, privzamemo, da se tudi gibljeta enako hitro. Potem velja j = 2NAv. Pri toku 1 A/cm2 tako dobimo v ∼ 0,1 mm/s. Seveda je tudi to gibanje naloženo na obstoječe termično gibanje.

Lastnosti snovi

Elektroni in ioni v snovi so vzrok za njihove električne in magnetne lastnosti. Te so opisane z dielektričnostjo ε, permeabilnostjo μ in prevodnostjo σ ter z raznimi iz njih izpeljanimi količinami, na primer z lomnim količnikom n. Vse to so fenomenološke količine. Doslej se nismo kaj dosti spraševali, od česa so odvisne. Zadoščale so nam kvalitativne razlage. Zdaj, ko poznamo maso in naboj elektronov, pa se vprašamo, kako bi te makroskopske količine kvantitativno povezali z mikroskopskimi.

39.9 Dielektričnost

Nepolarne molekule

Začnimo z dielektričnostjo. Omejimo se na dielektrike v plinastem stanju. To pa zato, da bomo lahko zanemarili medsebojni vpliv molekul. Privzemimo najprej, da molekule nimajo stalnih dipolnih momentov. Za električno polje E v dielektriku velja, kakor vemo, povezava ε E = E + P/ε0 (1), pri čemer je polarizacija P enaka vsoti molekularnih dipolov pe na prostorninsko enoto P = (N/V)pe (2). Za ne premočna polja privzamemo, da je influencirani molekularni dipol sorazmeren z lokalnim poljem na mestu molekule:

(39.10)

pe = αε0Elocal .

Sorazmernostni koeficient α poimenujemo polarizabilnost. Lokalno polje je vsota zunanjega polja in polja okolišnjih molekul. Ker so molekule daleč narazen, njihov vpliv zanemarimo in velja Elocal = E. Vstavimo (39.10) in (2) v (1), pa dobimo ε = 1 + (N/V)α. Ker N/V = Nm1/Vm1 = (Nm1/V)/(M/NA) = ρNA/M, sledi

(39.11)

M

ρ

(ε − 1) = NAα .

Dielektričnost nepolarnega plina je torej sorazmerna z njegovo gostoto. Meritve pokažejo, da je tak plin, na primer, vodik. Za vodik pri standardnih pogojih izmerimo ε − 1 = 0,26 × 10−3, iz česar izračunamo najprej α = 10 Å3 in nato iz tega pe / E = 0,5 · 10−6 eÅ / (kV/cm). Po zgledu eV smo vpeljali eÅ kot e · Å. Polje 1 kV/cm torej influencira v vodikovi molekuli električni moment, ki ustreza razmiku dveh elementarnih nabojev za 0,5 · 10−6. Razmik N nabojev je seveda N-krat manjši. Težišči pozitivnega in negativnega naboja v vodikovi molekuli se torej razmakneta manj kot za milijoninko njeneg premera.

Polarne molekule

Če imajo plinske molekule stalne električne momente, se ti bolj ali manj obračajo v smeri polja. Porazdelitev dipolov po odklonskem kotu θ glede na smer polja je odvisna od njihove energije pri tem odklonu: dn/ndΩ = A exp (peE cos θ/kT) ≈ A (1 + peE cos θ/kT).  — V smeri θ = 0 je delež A(1 + peE/kT) dipolov, v smeri θ = π pa A(1 − peE/kT) dipolov. Več dipolov je torej v smeri polja kot v nasprotni smeri. To se kaže kot polarizacija. — Normirno konstanto določimo iz pogoja ∫ (dn/n dΩ) · dΩ = 1. Integriramo po dΩ = 2π sin θ dθ in dobimo A = 1/4π.

Povprečni moment v smeri polja znaša pe⟩ = ∫ (dn/ndΩ)pe cos θ dΩ. Integriramo podobno kot prej in dobimo

(39.12)

pe⟩ =

p02

3kT

E .

K dielektričnosti polarnih molekul prispevajo tako inducirani kot orientirani molekularni dipoli (Debye):

(39.13)

M

ρ

(ε − 1) = NA(α +

p02/ε0

3kT

) .

Konstanti α in p0 sta značilni za posamezne snovi. Enačba ima obliko y = a + b/T. Z merjenjem dielektričnosti pri različnih gostotah in temperaturah lahko narišemo odvisnost y od 1/T ter dobimo premico. Iz nje določimo konstanti b in a in iz njiju električni moment p0 ter polarizabilnost α.

[Dielektričnost vodne pare] Slika 39.10 Odvisnost susceptibilnosti (ε − 1) vodne pare od temperature (1/T). Prikazani so merski podatki pri konstantni gostoti, to je v zaprti togi posodi. (Feynamn, 1963)

Meritve pokažejo, da je tak plin, na primer, voda. Za vodo izmerimo p0 = 0,4 eÅ in α = 1,5 Å3. To sta tudi tipična reda velikosti za druge polarne molekule. Povprečni moment molekule pri sobni temperaturi, zasukan v smeri polja z jakostjo 1 kV/cm, znaša pe⟩ = 20 · 10−6 eÅ. Influencirani moment pa znaša 0,5 · 10−6 eÅ, kar je za red velikosti manj.

Na osnovi izmerjenih električnih momentov lahko marsikaj sklepamo o molekulah. Vodna molekula H2O, na primer, ima stalni električni moment. Zato ne more biti linearna H−O−H, ampak mora biti prepognjena. Molekula CO2 pa stalnega momenta nima, zato tudi ne more biti prepognjena, ampak je linearna O=C=O. Oboje seveda že vemo iz prostostnih stopenj in razmerja specifičnih toplot [36.9].

Konstanti α in p0 sta odvisni od tega, kako so pozitivni in negativni električni naboji porazdeljeni po molekuli, to je, kako je molekula zgrajena. Tega zaenkrat ne vemo podrobno. Upamo pa, da bomo v nadaljevanju raziskav to dognali. Tedaj bomo obe konstanti lahko kar izračunali.

39.10 Permeabilnost

Nemagnetne molekule

Kakor smo določevali električne momente plinskih molekul, tako določujemo tudi njihove magnetne momente. Preučimo najprej pline, katerih molekule nimajo stalnih magnetnih momentov. Poimenujmo jih nemagnetne molekule. Privzamemo, da se pri majhnih jakostih magnetnega polja v njih inducirajo magnetni momenti, ki so sorazmerni z jakostjo polja:

(39.14)

pm = βB/μ0 .

Sorazmernostni koeficient poimenujemo magnetna polarizabilnost. Upoštevajoč M = (N/V)pm in B/μ = Bμ0M dobimo 1/μ − 1 = − (N/V)β = − (ρNA/M)β. Za μ, ki je blizu 1, velja 1/μ − 1 ≈ 1 − μ, zato

(39.15)

M

ρ

(μ − 1) = NAβ .

(Zašli smo v težave z oznakami: M pomeni kilomolsko maso in M magnetizacijo.) Permeabilnost plina iz nemagnetnih molekul je torej sorazmerna z njegovo gostoto.

Magnetne molekule

Stalne magnetne momente obravnavamo prav tako kot stalne električne momente, zato lahko rezultat kar prepišemo

(39.16)

pm⟩ =

p02

3kT

B .

(39.17)

M

ρ

(μ − 1) = NA (β +

p02μ0

3kT

) .

(Spet smo v težavah z oznakami: p0 pomeni velikost magnetnega, ne električnega momenta molekule.) Specifična susceptibilnost plina iz magnetnih molekul je torej obratno sorazmerna z njegovo temperaturo.

Težavne meritve

Ker imajo plini okrog 1000-krat manjšo gostoto kot snov v tekočem ali trdnem stanju, pričakujemo, da bo tudi njihova susceptibilnost ustrezno manjša, to je reda velikosti ± 10−9 pri standardnih pogojih. To se, žal, pokaže za resnično.

Z mnogo truda ugotovimo, da ima vodik nemagnetne molekule in susceptibilnost −2,1 · 10−9. Temu ustreza inducirani moment pm/B = −3,0 · 10−10 AÅ2 / T. Predstavljajmo si, da kroži elektron v atomu s frekvenco ν okrog ploščine S. Tedaj ustvarja moment pm = IS = (e/t) · S = eνS. Momentu pm torej ustreza frekvenca ν = pm/eS. Za vodikov moment to znese 1,9 · 109 Hz. To se morda zdi na prvi pogled veliko, vendar je neznatno v primerjavi s frekvenco 1015 Hz, s katero nihajo elektroni, ko izsevajo vidno svetlobo.

Posebnost med plini je kisik, ki ima magnetne molekule in nenavadno veliko susceptibilnost +1,9 · 10−6. Iz temperaturne odvisnosti izluščimo β ≈ 0 in p0 = 2,7 · 10−3 AÅ2. Pri sobni temperaturi potem velja ⟨pm⟩/B = 6,2 · 10−6 AÅ2/T. Pri jakosti polja 1 T se torej vzdolž polja usmeri le tisočina razpoložljivega momenta.

Zanimivo je, da se kot plini z nemagnetnimi molekulami pokažejo le diamagnetni plini. Paramagnetni plini se pa vedno pokažejo kot plini z magnetnimi molekulami. To nas navaja na misel, da se sicer inducirajo momenti v vseh molekulah – nemagnetnih in magnetnih, vendar jih v slednjih zmeraj preglasijo orientirani momenti. Vse konstante β so negativne.

[Diamagnetizem in paramagnetizem] Slika 39.11 Odvisnost specifične magnetne susceptibilnosti (μ − 1)/ρ od magnetnega polja in temperature. Prikazane so kvalitativne odvisnosti za diamagnetno (modro) in paramagnetno (rdeče) snov.

Konstanti β in p0 sta odvisni od tega, kako se pozitivni in negativni električni naboji gibljejo po molekuli, to je, kako je molekula zgrajena. Tega zaenkrat ne vemo podrobno. Upamo pa, da bomo v nadaljevanju raziskav to dognali. Tedaj bomo obe konstanti lahko kar izračunali.

39.11 Prevodniki

Prevodnost

Elektroni v kovinski žici se prosto gibljejo in pri tem trkajo z ioni. Vedejo se kot plin. Če je v žici stalno električno polje, čutijo elektroni silo F = eE in se gibljejo, kakor vemo iz kinetičnega opisa plinov, s prisilno hitrostjo (36.46)

(39.18)

vdrift =

eEτ

m

.

Količina τ je povprečni čas med dvema trkoma (oznako za povprečje bomo kar izpustili). Ustrezna gostota toka znaša

(39.19)

j = nevdrift = σE
σ =

ne2τ

m

.

Količino σ poimenujemo specifično prevodnost kovine. Če upoštevamo j = I/S in E = U/l, dobimo I = (σS/l)U, v čemer takoj prepoznamo zakon upornosti U = RI, kjer R = l/σS = ξl/S. Lepo je videti, da smo našli zanj mikroskopsko razlago in smo ga spremenili v izrek!

Enačba za specifično prevodnost omogoča, da izračunamo povprečni čas med trki. Za baker, na primer, poznamo σ = 5,9 · 107 / Ω m in n = N/V = ρNA/M = 8,3 · 1028 / m3 ter izračunamo τ = 2,5 · 10−14 s. S tem je določena tudi prisilna hitrost vdrift/E = 4 (mm/s)/(V/m). Pri gostoti toka j = 10 A/mm2 vlada v žici polje E = j/σ = 0,17 V/m, tako da je vdrift = 0,7 mm/s, povsem v skladu s predhodnimi izračuni.

Kompleksna prevodnost

Kaj pa, če je kovina v spremenljivem električnem polju? To je tedaj, ko je žica priključena na izmenično napetost. Ko se elektron giblje skozi kovino, ima ob vsakem trenutku t gibalno količino G(t). Dve stvari se lahko zgodita v kratkem prihodnjem času dt. — Prvič, elektron doživi trk z verjetnostjo dt/τ, izgubi vso dotedanjo gibalno količino in izide iz trka s slučajno gibalno količino eEdt. Prispevek elektrona k svoji novi gibalni količini znaša G1(t + dt) = dt/τ · eEdt. — In drugič, elektron ne doživi trka z verjetnostjo 1 − dt/τ. Po času dt ima potem gibalno količino G(t) + eEdt. Prispevek k svoji novi gibalni količini znaša G2(t + dt) = (1 − dt/τ)(G(t) + eEdt. Oba prispevka seštejemo, zanemarimo višje potence dt in dobimo

(39.20)

dG

dt

= −

G

τ

+ eE .

To je gibalna enačba s pospeševalno silo eE in z zaviralno silo G/τ. Pri enakomernem gibanju je leva stran enaka nič in enačba preide v znano obliko (39.18).

Za polje E = E0 exp (−iωt) poiščemo rešitev enačbe z nastavkom G = G0 exp (−iωt). Tako pridelamo enačbo G0 = eE0τ/(1 − iωτ). Množimo obe strani z ne/m in dobimo

(39.21)

j = σ̂E
σ̂ =

σ

1 − iωτ

.

Prideleli smo kompleksno prevodnost, ki je odvisna od frekvence polja. To pomeni, da gostota toka ni več v fazi z jakostjo polja. Z naraščajočo frekvenco se prevodnost manjša. To je razumljivo: preden uspe polje dovolj pospešiti elektrone, se že obrne in jih začne pospeševati nazaj. Vpliv pa je znaten šele pri visokih frekvencah, ko postane 1/ω primerljiv s τ. To pa so že frekvence vidne svetlobe. Za ω = 0 se enačba skrči na že znano stacionarno obliko, kakor tudi mora biti.

Prečna napetost

Elektronski curek se v magnetnem polju odklanja. To bi moralo veljati tudi za električni tok po prevodniku. Če po prevodniku v obliki traku teče tok in je nanj pravokotno usmerjeno magnetno polje, bi se morali elektroni nakopičiti ob enem robu. Tako bi se morala pojaviti napetost med obema robovoma traku. Izračunajmo to prečno napetost.

[Prečna napetost] Slika 39.12 Prečna napetost. Ko teče električni tok skozi prevodnik v magnetnem polju, se prečno nanj pojavi električna napetost.

Kovinski trak naj bo širok b in debel d. Vzdolž njega naj teče tok I = nev · bd. Elektron v toku čuti magnetno silo Fm = evB. Iz prve enačbe izrazimo hitrost v in jo vstavimo v drugo enačbo ter dobimo Fm = IB/nbd. To magnetno silo uravnoveša električna sila Fe = eU/b. Z izenačitvijo sil dobimo (Hall)

(39.22)

U =

1

ne

IB

d

.

Prečna napetost je torej sorazmerna s tokom in z magnetnim poljem. Sorazmernostni koeficient je odvisen od gostote prevodniških elektronov. Za baker, recimo, smo že predpostavljali n = 8,3 · 1028 /m3, zato je sorazmernosta konstanta zanj enaka 7,5 · 10−11 m3/As. Za trak debeline 0,1 mm, tok 1 A in polje 1 T dobimo, po računu, U = 75 μV. Merjenje prečne napetosti pri znanem toku in polju pokaže, da je sorazmernostna konstanta bakra 5 · 10−11 m3/As. To pomeni, da je prevodniških elektronov več, kot smo domnevali, in vsak atom bakra odda v povprečju 1,5 elektrona v skupno elektronsko morje.

Magnetni trak s tokom je priročen merilnik za magnetno polje, a žal le za velike jakosti. Rekli mu bomo kar magnetna sonda. Prav tako lahko z njim merimo gostoto prevodniških elektronov v različnih kovinah.

39.12 Svetloba in elektroni

Svetloba v plazmi

Za elektromagnetni val v prevodniku velja ε̂ = 1 + iσ/ε0ω. V enačbi namesto prevodnosti σ upoštevamo kompleksno prevodnost σ̂, torej ε̂ = 1 + iσ̂/ε0ω. Vstavimo σ̂, pri visokih frekvencah v faktorju (1 − iωτ) zanemarimo 1 in dobimo

(39.23)

ε ≈ 1 −

ωp2

ω2

ωp2 =

ne2

mε0

.

Plazemska frekvenca ωp določa, kako se valovanje vede. Če ω < ωp, je ε realen in negativen, zato je k imaginaren: val se po vpadu hitro zaduši. Če ω > ωp, pa je ε realen in pozitiven, zato je k realen: valovanje potuje skozi prevodnik brez dušenja. Za kovine je ωp ∼ 1015 Hz. To pomeni, da so za vidno svetlobo nepropustne, kar razumno odgovarja resnici.

Atomski oscilatorji

Poglejmo še svetlobo v dielektričnem plinu. Predpostavimo, da lahko elektroni v atomih prosto nihajo. Izbrani elektron lahko niha z lastno frekvenco ω0, recimo v smeri z. To pomeni, da je v atomu vezan z elastično silo mω02z. Opravka imamo z atomskim oscilatorjem.

Ko svetloba potuje čez atom, se elektron znajde v spremenljivem elektromagnetnem polju. Nanj delujeta električna in magnetna sila. Razmerje teh sil je Fm/FeevB/eE, pri čemer je v hitrost elektrona. Ker B = E/c, velja Fm/Fev/c. Če vc, kar predpostavimo, je magnetna sila zanemarljiva.

Elektron v nihajočem električnem polju vsiljeno niha. Zanj velja gibalna enačba mz" = −mω02zeE0sin ωt. Enačbo smo že srečali in rešili (34.31), zato rezultat kar prepišemo: z = z0 sin ωt in z0 = eE0/m(ω02ω2). Upoštevamo po vrsti pe = ez, P = (N/V)pe, P = ε0(ε − 1)E, ε − 1 = n2 − 1 = (n − 1)(n + 1) ≈ 2(n − 1), pa dobimo disperzijsko enačbo

(39.24)

n − 1 =

e2/m

2ε0(ω02ω2)

N

V

.

Mejni primeri

Za dolge valove lahko zanemarimo ω v primerjavi z ω0. Tedaj je lomni količnik neodvisen od valovne dolžine in je opisan s konstantama ω0 in N/V. Zrak je prozoren za vidno svetlobo. Svetlobo absorbira šele v ultravijoličnem delu spektra, pri valovni dolžini λ = 1860 Å. To odgovarja frekvenci ν = 1,6 · 1015 Hz. Elektron absorbira najmočneje svetlobo tiste frekvence, ki jo sam seva, zato je navedena frekvenca tudi lastna frekvenca elektronovega nihanja. Konstanta N/V = NAρ/M je popolnoma določena z gostoto 1,3 kg/m3 in povprečno kilomolsko maso 28,8 kg zraka, zato izračunamo n − 1 = 4 · 10−4. To se dobro ujema z izmerjeno vrednostjo 3 · 10−4 pri standardnih pogojih.

Disperzijska enačba pove, kako je lomni količnik odvisen od frekvence svetlobe. Za vidno področje je imenovalec pozitiven, zato lomni količnik narašča s frekvenco. To je v skladu z opazovanji: vijolična svetloba se lomi močneje kot rdeča.

Ko je frekvenca svetlobe enaka lastni frekvenci elektrona, bi moral biti lomni količnik neskončen. To je seveda posledica uporabljenih aproksimacij: nismo upoštevali, da je nihanje elektrona dušeno, ker pač seva energijo.

Ko postane frekvenca svetlobe mnogo višja od lastne frekvence elektrona, lahko zanemarimo ω0 v primerjavi z ω. Lomni količnik postane manjši od ena. To na prvi pogled pomeni, da se giblje zelo kratkovalovna svetloba v snovi hitreje kot v vakuumu. Težavo odpravimo z naslednjo domnevo. V nekem smislu je res: hitrost čistega harmoničnega valovanja – njegova fazna hitrost – je lahko večja od c. Ovojnica dveh ali več čistih valov, ki se gibljejo z različno fazno hitrostjo, pa kaže modulacijske "hribe" in "doline", in njihova hitrost – grupna hitrost – ni nikoli večja od c. Za prenos sporočil je vedno potrebno modulirano valovanje in s tem je rešena teorija relativnosti. V raziskavo te razlage se ne bomo spuščali.

Večkratni oscilatorji

Pri izpeljavi disperzijske enačbe smo obravnavali atom kot harmonični oscilator z eno samo frekvenco. To gotovo ni res: kot vemo, sevajo atomi mnogo različnih frekvenc. Zato moramo disperzijski model ustrezno izpopolniti. Njegova naravna posplošitev je

(39.25)

n − 1 =

N

V

fk

e2/m

2ε0(ωk2ω2)

.

Frekvence ωk so določene z lego črt v spektru plina, koeficienti fk pa z njihovo relativno jakostjo. Dokler ne poznamo zgradbe atomov, obojih ne moremo izračunati, ampak se moramo opreti na izmerke. □